乐山高新技术产业开发区总体发展规划(2025-2035年) 环境影响评价公众参与第一次信息公示
受乐山高新技术产业开发区管理委员会委托,四川省环科源科技有限公司和生态环境部环境发展中心承担了《乐山高新技术产业开发区总体发展规划(2025-2035年)》环境影响评价工作。依据《中华人民共和国环境影响评价法》《规划环境影响评价条例》及《环境影响评价公众参与办法》等要求,现对本次规划环境影响评价进行信息公示。信息公示内容如下:
一、规划名称及概况
(一)规划名称
《乐山高新技术产业开发区总体发展规划(2025-2035年)》
(二)规划范围
西至泊滩村,南至洛都社区,东至乐山大佛景区,北至梁禄山,规划面积共19.64平方公里。
(三)规划期限
规划基准年为2024年,规划期限为2025-2035年。
规划重点:近期2025-2030年,远期2031-2035年,保障阶段性任务的可操作性,实现规划目标的连贯性和完整性。
(四)发展定位
以《成渝地区双城经济圈建设规划纲要》中发展电子信息和新能源装备产业为总体方针,契合四川省、乐山市、乐山市市中区国土空间总体规划中“打造绿色硅谷,聚焦新能源装备上下游产业链”的发展策略,本轮规划总体定位为电子信息和新能源装备产业。
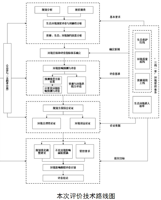
二、规划环境影响评价技术路线及评价重点
(一)技术路线
本次评价确定的技术路线见下图。

(二)评价重点
(1)规划概述和规划协调性分析;
(2)区域生态环境现状评价;
(3)规划实施主要生态、环境、资源制约因素分析;
(4)规划实施生态环境压力分析、环境影响预测及评价;
(5)规划方案综合论证和优化调整建议;
(6)不良环境影响减缓对策措施与协同降碳建议;
(7)产业园区环境管理与环境准入;
(8)公众参与。
三、规划编制单位及联系方式
单位名称:乐山高新技术产业开发区管理委员会
通讯地址:四川省乐山市市中区高新区乐高大道6号
邮政编码:614099
联系人:罗女士
联系电话:18980264635
电子邮箱:170087724@qq.com
四、环境影响评价单位及联系方式
单位名称:四川省环科源科技有限公司
通讯地址:中国(四川)自由贸易试验区成都高新区天府四街199号1栋12层
邮政编码:610041
联系人:杜昕
联系电话:18190755566
电子邮箱:30315575@qq.com
单位名称:生态环境部环境发展中心
通讯地址:北京市朝阳区育慧南路1号
邮政编码:100029
联系人:李冬
联系电话:010-84665871
电子邮箱:718869628@qq.com
五、征求公众意见的主要事项
(一)您认为本轮规划实施对环境主要有哪些影响?
(二)您是否赞成本轮规划的实施(不赞成请说明原因)?
(三)从环境保护角度考虑,您对本轮规划有何意见和建议?
六、公众意见反馈方式
公众可向规划编制机关、环评单位以电子邮件、信函、电话等方式发表关于本轮规划及其环评工作的意见和建议。请公众在发表意见的同时尽量提供详尽的联系方式,以便我们及时向您反馈。
七、信息发布与意见反馈有效期限
自本公示发布后10个工作日内。
乐山高新技术产业开发区管理委员会
2025年9月4日
川公网安备51110202000199号